Kägelventil
Kägelventil är en av de vanligaste typerna av avstängningsventiler och reglerventiler. Den kallas också sätesventil. På engelska går de under namnet globe valve.
Kägelventilens funktion
Kägelventilen består av en kägla som styrs genom en skruvbar spindel. Ventilkäglan styrs alltså genom att handmanövrera (skruva) ventilspindeln eller att manövrera den genom ett ställdon. I kägelventiler rör sig käglan axiellt mot sätet. Då ventilen stängs tätar käglan mot sätet som motsvarar käglans form. En kägelventil är mycket tät vid stängt läge.
Reglering av flödet är möjligt med en kägelventil. Flödet kan regleras genom att ändra öppningens storlek i ventilhuset, ju större öppningen är desto större är flödet genom ventilen. Genom att tillverka kägelventiler med långa ventilsäten får man vätskan att accelerera jämnt, vätskans högsta hastighet kommer uppstå där genomloppsarean är minst.
För att förhindra vibrationer i käglan förses denna med en styrning (främst större dimensioner).
Flödet genom en kägelventil är ungefär linjärt beroende av öppningens storlek vilket möjliggör en mycket noggrann reglering.
Material
Vid låga tryckfall kan man använda gråjärn (150kPa, 1,5bar) eller segjärn upp till PN25. Gråjärn och segjärn har hög kolinblandning och klarar genom grafitskyddet korrosion relativt bra. För vatten eller vattenlösningar med pH-värden mellan ca 6 och 10 kan grå- eller segjärn användas utan större risk för korrosionsskador.
Vid högre tryckfall rekommenderas ventilmaterial av brons (350kPa, 3,5 bar) eller rostfritt stål (800kPa, 8bar).
Tryckklass
Tryckklass, PN (Pressure Nominal), är en beteckning för det nominella invändiga tryck (uttryckt i bar) som ligger till grund för hållfasthetsberäkningar av ventiler vid temperaturen 20°C.
PN åtföljs av ett talvärde för trycket. PN16 betyder t.ex. att det invändiga maxtrycket i ventilen får vara 16 bar (=1600 kPa)
PN finns i följande talserie:
2,5 / 6 / 10 / 16 / 25 / 40 / 64 / 100 / 160 / 250 / 320 / 400.
Ökar temperaturen hos ett material sjunker dess hållfasthetsegenskaper och därmed även det tillåtna trycket för rörsystemets komponenter. Olika material inom samma trycklass, tål olika tryck vid en temperaturhöjning. Kolla alltid med Er leverantör vad som gäller.
Beteckningen PN ersätter tidigare använda NT (Nominellt Tryck). Äldre armaturer är märkta NT (enhet atö, atmosfäriskt övertryck).
Differenstryck
Med alltför stora differenstryck över en kägelventil finns det risk för att det uppstår kavitation i ventilen.
När vattenflödet stryps genom en ventil ökar vätskans hastighet och det statiska trycket sjunker samtidigt. Om trycket faller under vätskans ångbildningstryck bildas ångblåsor i vätskan. När dessa ångblåsor sedan kollapsar eller imploderar, uppstår det vattenstrålar som är så kraftiga att de kan skada ytan på materialet i ventilen.
Detta kan på sikt leda till erosion i materialet och ventilen börjar läcka i stängt läge.
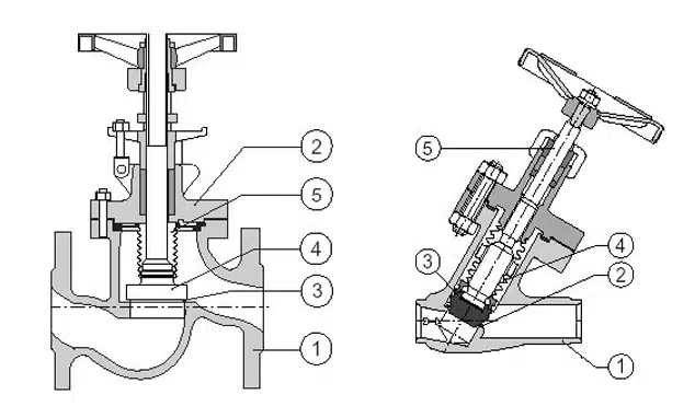
Kägelventil med ett säte
Kägelventiler används vanligen för små volymströmmar och stora tryckskillnader. Det finns olika typer av kägelventiler, man kan bl.a. dela upp dem i rak kägelventil och sned kägelventil. Nedan finns två olika utföranden rak och sned.
- Ventilhus
- Rak. Bygellock (Bröst) / Sned. Säte
- Rak. Säte / Sned. Kägla
- Rak. Kägla / Sned Veckbelg
- Rak. Veckbälg / Sned Spindel
Kägelventil med dubbla säten
För stora tvåvägs kägelventiler med högt tryckfall över ventilen, blir vridmomentet vid öppning och stängning stort. Denna kägelventil blir då svår att manövrera och kräver stora ställkrafter. Ett sätt att undvika detta är att balansera ventilen. En dubbelsätig kägelventil har därför två motstående ventilkäglor. Dessa påverkas av trycket från vätskan men eftersom trycken är motverkande tar krafterna ut varandra. Nackdelen med en dubbelsätig kägelventil är att den blir dyrare, vilket kompenseras genom att ställdonen blir mindre men två säten läcker mer än ett. Även om ventilkäglan slipas in tillsammans med respektive säte blir konsekvensen större läckage. Normalt max. 0,5% av flödet (källa Palmertz).
